针糠的工艺及应用 - 济南真诺机械有限公司

浏览数量: 0     作者: 本站编辑     发布时间: 2022-07-21      来源: 本站

["facebook","twitter","line","wechat","linkedin","pinterest"]

面包屑是一种广泛用于油炸食品表面的食品添加剂,如:炸鸡、炸鱼、海鲜(虾)、鸡腿、鸡翅、洋葱圈等,其风味香脆松软,味道鲜美,营养丰富。


济南真诺机械有限公司面包屑生产线采用先进的挤压技术设计,质量和运行均达到国内较高水平。该生产线改变了传统的面包屑生产工艺。生产过程是全自动的,用于混合、挤出、切割、粉碎和干燥。


生产线:

混粉机-螺杆输送机-双螺杆挤出机-牵引切断机-提升机-粉碎机-吸风上料机-振动流化床-冷却输送机-振动筛


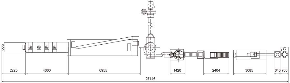
面包糠生产线平面图:


面包糠生产线平面设计图


面包糠生产线详细参数


我公司面包屑生产线的优点是:

1.整机设计紧凑合理

2.加热方式,电、气、燃气可选,满足不同客户的需求

3.采用往复式烘干,运转平稳 

4.配备高效节能燃烧系统,热源分布合理,物料受热均匀,能耗低,产量大。